Автор: эксперт-менеджер ООО «Инкор» Халецкая Ирина Игоревна
Для кого будет полезна: для операторов, наладчиков, мастеров,
технологического отдела
Замечали при работе на токарном станке дребезжание, частое затупление инструмента, плохую шероховатость? Это лишь малая часть последствий неправильных расчетов режимов резания.
Можно посмотреть рекомендуемые режимы по каталогу производителя инструмента, но это очень приближенные значения, поэтому считается не совсем правильной рекомендацией. На рабочем месте оператора, наладчика или технолога не всегда можно встретить тот самый каталог. С телефона посмотреть может не получится – либо интернет отключится, либо связь не ловит.
Мы специально создали эту статью, чтобы вы не зависели от внешних факторов, которые могут подвести в самый неудобный момент. В ней мы описали что влияет на выбор режимов, что нужно делать перед выполнением операции, что такое и как рассчитываются сами режимы резания. А для вашего удобства – в конце статьи вы найдете список самых популярных приложений и сервисов, которые рассчитывают оптимальные режимы резания не только для токарных операций.
Рисунок 1. Патрон, система измерения детали и система ЧПУ токарного станка
Что влияет на выбор режима резания?
-
Материал обрабатываемой детали: различные металлы требуют разных режимов резания из-за их механических свойств, твердости и структуры;
-
Тип и состояние инструмента: материал, геометрия, его острота и состояние износа;
-
Геометрия обрабатываемой детали: наличие различных элементов (радиусы, углубления и т.д.);
-
Требуемое качество обработанной поверхности;
-
Производительность процесса: оценка важности скорости работы, качества обработки и долговечности резца;
-
Технические возможности конкретного токарного станка;
-
Охлаждение: использование СОЖ влияет на увеличение скорости и глубины резания.
Рисунок 2. Настройка режимов резания оператором токарного станка с ЧПУ
Что нужно сделать перед выполнением операции?
Чтобы достичь высокой эффективности в обработке, необходимо соблюдать определённую последовательность действий до её начала:
-
Анализ материала обрабатываемой заготовки. Оцените характеристики и состав материала, так как это существенно влияет на параметры обработки стали и других материалов.
-
Проверка технического состояния оборудования. Проверьте исправность станка, особенно важно это для станков с ЧПУ, поскольку любые неисправности могут отразиться на качестве выполнения работ.
-
Выбор и установка инструмента. Точность выполнения работ и срок службы резца напрямую зависят от его правильного выбора.
-
Установление ключевых рабочих параметров. В зависимости от заготовительного материала и типа режущего инструмента, а также желаемого качества поверхности, определяются основные показатели, такие как скорость подачи, глубина и угол реза.
-
Расчёт параметров резания. Для этого используйте таблицы или программное обеспечение, а также калькуляторы режимов резания для точной настройки (приведем список приложений и сервисов в конце статьи).
-
Фиксация заготовки. Убедитесь в надёжном закреплении детали между центрами или в патроне, чтобы исключить вибрации или смещение во время работы.
-
Обеспечение безопасности рабочего пространства. Удостоверьтесь в отсутствии лишних предметов в зоне работы и правильности установки всех защитных элементов.
-
Тестовый запуск оборудования. Рекомендуется провести тестовый запуск перед началом основной работы для проверки установленных режимов.
-
Корректировка настроек. После тестового запуска и первоначальной обработки при необходимости отрегулируйте настройки.
-
Начало работы. После всех проверок и настроек приступайте к работе, уверенные в правильности установленных параметров.
Следование этим шагам поможет вам создать идеальные условия для качественной токарной обработки на любом типе оборудования.
Рисунок 3. Процесс точения заготовки резцом
Материал обрабатываемой детали
Сталь. Обширная категория металлов от простых нелегированных до сложных высоколегированных, а также стальное литье и нержавеющие стали ферритного и мартенситного классов. Эти стали обычно легко поддаются обработке, однако степень их обрабатываемости может значительно варьироваться в зависимости от их твердости, содержания углерода и других факторов.
Нержавеющая сталь — это группа сплавов, которые содержат не менее 12% хрома, а также могут включать другие легирующие элементы, такие как никель и молибден. Эта группа состоит из различных типов нержавеющих сталей, включая ферритные, мартенситные, аустенитные и аустенитно-ферритные (дуплексные) стали. При механической обработке этих материалов в зоне резания возникает значительное тепловыделение, что может привести к образованию наростов и проточин на режущих инструментах.
Чугун. В отличие от стали, чугун при обработке дает короткую стружку (надлома). Серый чугун и ковкие чугуны обрабатываются довольно легко, в то время как чугун с шаровидным графитом, чугун с вермикулярным графитом и отпущенный ковкий чугун гораздо хуже поддаются обработке. Все чугуны содержат карбид кремния, который обладает высокими абразивными свойствами.
Цветные металлы включают в себя более мягкие типы металлов, такие как алюминий, медь, латунь и другие. Алюминий с 13% содержанием кремния является высокоабразивным материалом. При использовании режущих пластин с острыми краями можно применять высокие скорости резания с обеспечением высокой стойкости инструмента.
Жаропрочные сплавы представляют собой множество высоколегированных материалов на основе железа, никеля, кобальта и титана. Они обладают повышенной вязкостью, вызывают наростообразование на режущей кромке, повышенное выделение тепла и склонны к наклепу. Обработка этих материалов сложна, и в результате стойкость режущих кромок снижается.
Материалы высокой твердости включают стали с твердостью 45-65 HRC и отбеленный чугун с твердостью 400-600 HB. Высокая твердость этих материалов затрудняет их обработку. При резании они выделяют много тепла и характеризуются очень сильным абразивным действием.
Параметры и формулы для расчета режима резания
Начинать расчет параметров наиболее предпочтительно с глубины резания, т.к. этот параметр меньше всего влияет на количество теплоты, выделяемой при точении, и на износ инструмента.
Рисунок 4. Элементы резания при точении
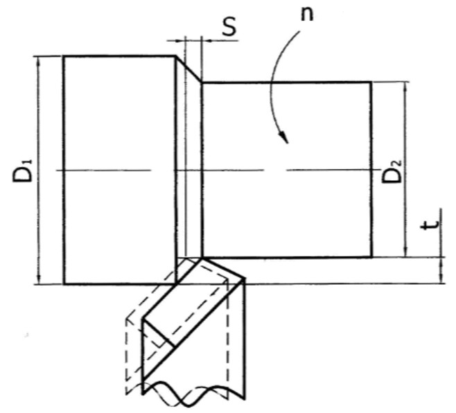
Глубина резания (t) – толщина слоя металла, который снимается за один проход (мм).
При черновой обработке назначают по возможности максимальную глубину, равную всему припуску на обработку или большей части его. При чистовой обработке – в зависимости от требований точности размеров и шероховатости обработанной поверхности. На каждом последующем проходе следует назначать меньшую глубину резания, чем на предыдущем. При параметре шероховатости обработанной поверхности Ra ≥ 0,8 мкм, t = 0,1÷0,4 мм.
Слишком маленькая глубина резания может привести к неэффективному использованию инструмента и увеличению времени обработки, в то время как слишком большая глубина может вызвать чрезмерный износ инструмента и даже его поломку.
Таким образом, глубина резания должна быть оптимизирована для каждого конкретного случая, учитывая тип обрабатываемого материала, тип инструмента, желаемое качество поверхности и производительность. Это помогает достичь баланса между скоростью обработки и долговечностью инструмента, а также обеспечивает высокое качество готовой детали.
Где t – глубина резания;
D1 – диаметр заготовки до обработки;
D2 – диаметр заготовки после прохода резца.
Подача (S) – величина перемещения инструмента относительно детали за один оборот шпинделя (мм/об).
При черновой обработке выбирают максимально возможную подачу, исходя из жесткости системы СПИД (Станок-Приспособление-Инструмент-Деталь), мощности привода станка, прочности твердосплавной пластинки и других ограничивающих факторов.
Подача для чистовой обработки определяется главным образом требуемой степенью точности, радиусе при вершине резца и шероховатостью обработанной поверхности. Для уменьшения шероховатости подачу следует принимать меньшей.
Большая подача может ускорить процесс обработки, но также может привести к более грубой шероховатости, «привариванию» стружки и большему износу инструмента. Маленькая подача обеспечивает более гладкую поверхность, но увеличивает время обработки.
Скорость резания (V) – величина, характеризующая быстроту перемещения резца относительно детали за единицу времени (м/мин).
Скорость резания является ключевым параметром, который влияет на время обработки, шероховатость поверхности и износ инструмента. Выбор правильной скорости резания зависит от многих факторов, включая материал детали и инструмента, размер детали, тип операции (грубая или чистовая обработка), а также от системы охлаждения.
Высокая скорость резания может уменьшить время обработки, но также может привести к быстрому износу инструмента и плохому качеству поверхности из-за повышенного тепла. Низкая скорость резания может увеличить срок службы инструмента и улучшить качество поверхности, но также увеличивает время обработки.
Где V – скорость резания (м/мин);
D – диаметр заготовки до обработки(мм);
n – частота вращения заготовки (об/мин).
В числе дополнительных параметров , влияющих на процесс токарной обработки, следует упомянуть следующие: вес и тип металла, из которого изготовлена деталь; размеры необходимых припусков; скорость вращения шпинделя; состав режущей части инструмента; время обработки; степень чистоты поверхности после обработки и другие свойства, оказывающие влияние на итоговое качество изделия.
Эти параметры помогают определить оптимальные условия для точения, чтобы обеспечить эффективность процесса и оптимальной шероховатости поверхности обработанной детали. Правильный расчет и выбор параметров режима резания являются ключевыми для успешной обработки на токарных станках.
Топ-5 калькуляторов для расчета режимов резания
-
Walter. Один из лучших бесплатных калькуляторов для расчета режимов резания для токарных, сверлильных, фрезерных и операций для обработки резьб (нарезание резьбы, раскатывание, резьбофрезерование). Также в приложении можно рассчитать экономическую эффективность. Можно пользоваться сайтом или скачать приложение в AppStore и GooglePlay и пользоваться офлайн, сервисы бесплатные.
-
Hoffmann. Приложение подходит для вычисления наиболее подходящих параметров и рабочих характеристик для точения, сверления, фрезерования и TPC-фрезерования (трохоидальная обработка). Понятные формулы с разъяснительными пиктограммами. Приложение бесплатное и может работать в режиме офлайн. Доступно для скачивания в AppStore и GooglePlay.
-
Аскон. Приложение позволяет производить расчет режимов резания для шлифования, зубообработки, нарезания резьбы метчиком, плашкой и винторезной головкой, обработка отверстий осевым инструментом, разрезка материалов, фрезерная обработка, нарезание резьбы резцом, токарная обработка. Сразу скажем – приложение платное. Может быть запущен как самостоятельное приложение Windows, так и из техпроцесса САПР ТП Вертикаль.
-
Режимы резания. Функций в нем не так много, как в предыдущих, но гарантируют достоверность расчетов. Предназначен для точения, сверления и фрезерования. В приложении также можно рассчитать концентрацию СОЖ и доступна система допусков (не у всех такое есть). Приложение бесплатное и доступно для скачивания в AppStore и GooglePlay.
-
Технический справочник Технарь. Один из самых универсальных и полезных сайтов не только для расчетов режимов резания. На сайте можно найти статьи по программированию G и M кодов для станков с ЧПУ, марочник сталей и сплавов, таблицу допусков и посадок, таблицы твердости, шероховатости, резьб, плотности, как читать чертежи и многое другое. Правда рассчитать режимы резания получится только для операций точения, фрезерования и сверления. Зато весь материал предлагается бесплатно и в удобном формате.
- Как выбрать шпиндель для токарных станков с ЧПУ?
- Причины столкновений на металлообрабатывающих станках и способы их предотвращения
- Что нужно знать об установке станка в цех?
- Экономические и технические критерии выбора токарных станков
- Как выбрать добросовестного поставщика металлообрабатывающего оборудования?
При определении подходящих параметров резания стоит учитывать рекомендации от изготовителей инструмента и собственный опыт работы на данном оборудовании. Доступны различные справочные материалы и таблицы, облегчающие выбор подходящих режимов для различных материалов и условий обработки. Необходимо помнить, что на практике часто возникает необходимость в корректировке режимов в зависимости от реальных результатов обработки.
Использование токарных станков с ЧПУ предоставляет преимущество в виде быстрого расчета оптимальных режимов резания для любых токарных операций с помощью специализированного программного обеспечения, а также легкого и быстрого внесения любых изменений без ручных расчетов.

